TRANSFORMER  VOTRE   GPS EN DETECTEUR DE RADAR

Si vous disposez  d'un vieux GPS  vous pourrez ,avec le  montage que nous proposons , lui donner une nouvelle jeunesse  et grace à lui respecter strictement les limitations de vitesse  sur les routes de France , limitations que les radars automatiques sanctionnent lourdement .


le module terminé
Principe du montage
=================
Les signaux envoyés par le GPS (via l'interface série à la norme NMEA )  sont décodés par un microcontrolleur  .Ce dernier dispose en mémoire de l'ensemble des coordonnées GPS (latitude et longitude et vitesse max autorisée) des différents  radars automatiques installés en France (actuellement environ 900 , liste évoluant sans cesse à la hausse ). Il calcule en permanence les distances  des 2 radars les plus proches et vous informe de la distance qui vous  en sépare toutes les secondes .Quand vous etes à moins de 1500 mètres d'un de ceux la il vous prévient auditivement et vous indique sur son afficheur la vitesse à ne pas dépasser .Désolé pour le moment il n'est pas capable de lever le pied à votre place et ce sera à vous  de la faire .

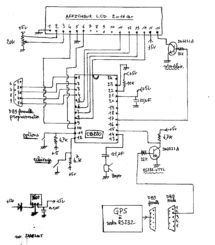
Le montage est on ne peut plus simple se résumant essentiellement à 1 microcontrolleur et un afficheur LCD (2 lignes 16 caractères ) .Le microcontrolleur est un CUBLOC 220 ( CB220 ) de la société coréenne COMFILE que l'on peut trouver facilement chez son distributeur en France pour un cout voisin de 45 euros .Il se présente sous la forme d'un circuit à 24 contacts .Ce microcontrolleur dispose d'une mémoire flash de 80 kilooctets plus que suffisante pour stocker à la fois les coordonnées GPS  et le programme qui les exploite .Tous les autres composants sont très classiques et peuvent se trouver dans vos fonds de tiroirs ou etre obtenus auprès de votre revendeur habituel .

LE SCHEMA
==========

Il se trouve dans la revue MEGAHERTZ MAGAZINE (numéro 280 ,mois de juillet 2006) (commander le magazine) .La réalisation peut etre faite sur un circuit imprimé ou plus simplement sur une plaquette pastillée disponible dans le commerce  .C'est cette dernière solution qui a été choisie par l'auteur .

Le module est alimenté en 5 volt régulés  obtenu  à partir du 12 volt du véhicule .Une diode en série est là pour se prémunir d'un risque d'inversion .Le régulateur n'a pas besoin d'avoir de radiateur spécial .Le circuit consomme au total environ 70 milliampères la dissipation thermique du régulateur étant de l'ordre de 0.4 watt . Deux boutons poussoirs sont adjoints : l'un pour commander l'éclairage  et l'autre  pour piloter différentes options du logiciel de controle .

L'ensemble peut tenir  dans un petit boitier en plastique (dimension  10 x 6 x 3 cm) 

Comme la liste des radars est évolutive il est prévu  de pouvoir périodiquement mettre à jour la base de donnée .Ceci se fait via un PC et une prise série (DB9) .Une autre prise est également nécessaire pour  amener à la fois la tension d'alimentation et le signal de sortie du GPS (protocole RS232 ) .Comme on n'envoit pas de données vers le GPS on n'a besoin  que d'une prise à 3 fils   .On peut par exemple utiliser une fiche DIN 5 broches d'un coté et une prise DB9 de l'autre .

L'indicateur LCD sera un modèle 2 lignes 16 caractères qui sera de préférence un modèle à rétroéclairage  ce qui est bien pratique en cas de conduite nocturne .Le buzzer piézo électrique pourra étre récupéré sur une vieile carte de PC réformé mais il n'est pas interdit de l'acheter neuf .

voir le schéma
CB220

LA REALISATION
==============
Une fois que vous aurez rassemblé les différents composants   il vous faudra réaliser le cablage du circuit conformément au schéma électrique .Bien vérifier qu'il n'y a pas d'erreur de cablage .Vérifier que les tensions arrivent aux bons endroits sans composants actifs insérés et qu'il n'y a pas de court circuits entre les pistes contigues

Monter d'abord l'afficheur LCD  et vérifier  que les pixels changent de ton lorsque l'on met le montage sous tension , ajuster le potentio de réglage si besoin est .

Il vous faudra également récupérer sur le site du fabricant coréen du microcontrolleur  le logiciel qui vous permettra de charger le programmedans la mémoire du CB220 (adresse http://www.comfiletech.com/ , nom :ECUSTSETUP14x.EXE ce nom peut changer suivant les révisions  ) .Le logiciel marche sur WINDOWS 98 et les versions suivantes.C'est un FREEWARE libre de tout droit   .Une fois téléchargé (environ 4 megaoctets ) il vous faudra le décompacter et l'installer sur votre PC , l'ensemble de ces opérations se faisant quasi automatiquement  .Point n'est besoin d'avoir une bete de course pour faire tourner ce logiciel  ,les modèles à Pentium 1 peuvent faire parfaitement l'affaire .Une fois décompacté il se nomme CUBLOCSTUDIO.EXE .
Sur le meme site il sera également préférable de télécharger les fichiers e-applicationntotes2.pdf et e-cublocmanual.pdf .Le premier contient différents exemples de  réalisations avec le CB220 alors que le second est le manuel d'utilisation .En les parcourant vous pourrez vous rendre compte des possibilité de ce microcontrolleur .

Il faudra prendre en main le logiciel (CublocStudio.exe) .Dans notre cas cettre prise en main se réduit à sa plus simple expression puisqu'on l'utilise uniquement pour charger le programme dans la mémoire du CB220 . Pour récupérer le programme en question il vous faudra le récupérer ici meme (Telecharger le programme RADAR.OBJ) .Le programme s'appelle RADAR.OBJ  .Il s'agit d'un logiciel entièrement gratuit (FREEWARE) .Comme indiqué plus haut ce bout de code contient à la fois les coordonnées GPS des radars et le programme de gestion .Périodiquement il vous faudra vous reconnecter pour avoir la dernière révision afin de maintenir la base de données à jour .A terme le gouvernement prévoit l'implantation au total un peu plus  de 2000 radars qui ne seront pas à l'étroit dans les 80 koctets de la mémoire du microcontrolleur .

Pour ne pas avoir de probleme de programmation  il est nécessaire que le fichier RADAR.OBJ soit compatible avec la version du programme permettant de le charger  dans la mémoire du CB220 (CublocStudio.exe) .Le programme actuel est compatible avec la version 2.0  .SI ce n'est pas la version dont  vous disposez vous pouvez décharger sur ce site le logiciel compatible avec ce fichier (Decharger le logiiciel de programmation version 2.0H)




LA PROGRAMMATION
====================

Vous insérer le microcotrolleur CB220 sur son support en faisant attention à le mettre dans le bon sens  puis vous appliquez la tension sur le montage  .La consommation totale est de l'ordre de 60 ma pouvant varier suivant le modéle d'afficheur .
Vous brancher la sortie rs232 de votre PC avec la prise DB9 de programmation du montage  .Vous lancez  le logiciel CublocStudio.exe et vous le configuez pour tenir compte de la prise rs232 que vous utilisez  (option Setup/PC interface setup ) .Vous choisissez le port COM à utiliser (Com1, Com2..) et vous ajustez éventuellement la réglette WAIT_TIME particulièrement si vous utilisez un PC ancien (W98 et pentium vieille génération ) .

Vous sélectionnez alors l'option FILE/Download from Obejct file  .Vous chargez le programme RADAR.OBJ  par l'intermédiaire de la boite de sélection de fichier qui s'est ouverte .Le programme se charge dans la mémoire de l'ordinateur qui aussitot après le transmet dans la mémoire du microcontrolleur l'ensemble se faisant en moins de 4 secondes .Il peut se produire lors de la première utilisation que le logiciel vous fasse apparaitre une boite indiquant "New Firmware   Download ?  YES    NO"  .Choisissez l'option YES  puis  reselectionner l'option FILE/DOwnload from Obejct file et refaite les opérations précédentes sans rencontrer cette fois d'arret dans la programmation .

Dès que le programme est chargé l'afficheur démarre .Ajuster le potentiométre pour optimiser la lecture .Sur la première ligne aparrait  RADAR DETECTOR alors que sur la seconde c'est  la date de la version que vous pourrez voir  (par exemple V.27/12/2005). Vous pouvez à ce moment débrancher le cordon RS232 de programmation .Vous pouvez si vous le désirez arreter l'alimentation du module .Lorsque vous le rebrancherez le programme redémarre automatiquement  en revenant sur les deux lignes précédemment indiquées .

Le detecteur de radar dans sa boite L'UTILISATION
=============
Il ne vous reste plus qu'à relier le module au GPS  pour voir apparaitre les informations désirées .L'affichage dépend de votre position par rapport aux radars les plus proches .Si vous vous éloignez de ceux ci l'information qui apparait sur la premier ligne est : NO RADAR AHEAD  (en francais "pas de radar devant") alors que sur la deuxième apparait la distance en metres ou en kilomètres des 2 radars les plus proches.
Si au lieu de vous éloignez d'un radar vous vous en rapprochez l'indication sera différente .Sur la première ligne  vous verrez apparaitre l'indication "RADAR à   X  METRES"  , X étant la distance vous séparant du radar  , la deuxième ligne vous donnant la vitesse maximum autorisée  .Quand vous serez à moins de 1500 mètres du radar en question l'alarme sonore se mettra en service en émettant de facon brève une tonalité qui s'arretera toute seule dès que vous aurez passé le radar .En appuyant de facon prolongée sur le bouton Eclairage  vous mettrez le rétro éclairage en service ce qui est bien utile en cas de conduite nocturne.

La liste des radars automatiques installés s'allongeant au fil des mois il faudra périodiquement remettre à jour le programme RADAR.OBJ en vous connectant sur ce site 

A bientot et bonne route .

MISES A JOUR
============
decembre  2005 : version originale à 500 radars fixes
mai  2006         : mise à jour radar fixes 700 radars fixes
 nov 2006        : mise à jour  radars fixes 1800 radars fixes
nov 2006         : passage à version cublocstudio 2.0 pour le fichier radar.obj
mars 2007        : mise à jour base des radars (4000 )
juin 2008          : mise a jour base radar avec differenciation radar fixe et mobile ( si vitesse limite indiquee sur l'afficheur finie par 1 c'est un radar mobile ) au total  5700 radars fixe + mobile dans la base
oct 2009            mise à jour base radar fixe et mobile  1351 radar fixe et 8091 radars mobiles  dans la base